In this week’s Patent Patrol, we check out an innovative chain retention device from Praxis Works. Rather than rely on special tooth shaping or other mechanical interfaces, the chainrings use magnets to discourage the chain from jumping off. We dive deeper, to find out if magnets could be part of your drivetrain’s future.
Praxis Works magnetic chainring patent
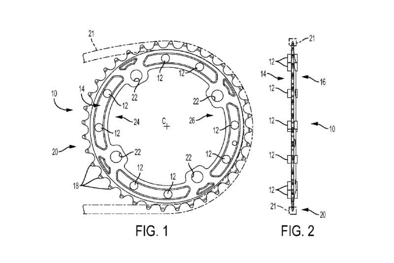
This isn’t the first non-traditional chainring from Praxis, who partnered with MRP for their Wave Tech tooth profiling, following a dispute with SRAM (who began cracking down to protect their narrow-wide chainring design). We just came across a Praxis patent for a new alternative – magnets.
The magnets could vary in shape (seen as thin bar magnets in the embodiment above), but are intended to be oriented evenly around the circumference of the ring. The vast majority of chains are made primarily of steel, which would be attracted to the magnets – discouraging a dropped chain over rough ground.
It’s interesting to note that the drawings are shown with standard narrow-tooth chainrings, rather than combining the magnets with their Wave Tech design. This is because the patent language calls out that this retention device could be used with multiple front chainrings (requiring narrow teeth) – and actually details the possibility of frame-mounted magnets to assist with shifting.
Now for the questions. Will it ever see the light of day? How much weight will the magnets add? And – does it work? We’ll stay tuned for further development and updates.
Hat tip to Gregory T. for alerting us to this patent.





