FSA is one of the few brave companies that went toe to toe with drivetrain giants. If today’s patent is any indication, FSA isn’t done innovating. This patent appears to indicate an FSA wireless drivetrain is in the works — one that even incorporates wireless charging.

In 2016 FSA launched its WE drivetrain, a semi-wireless system that had to compete with the likes of Shimano and Campagnolo in the wired arena, and SRAM in the wireless world. While WE hasn’t caught on the way SRAM’s eTap AXS or Shimano’s Di2 systems have, it’s clear FSA has the fundamentals down. And the company’s not giving up. Refinements to an FSA wireless drivetrain the patent outlines indicate Shimano and SRAM could have stiff competition soon.
With Shimano toying with wireless in its own patents (read all about that here), FSA seems to be keeping up with trends. A fully-wireless rear derailleur with wireless charging would be a first for sure. That would give FSA a leg up on all of its wireless competitors.
Other developments for the FSA wireless drivetrain include a damper system to help reduce chain movement over big hits and chatter.
FSA Wireless drivetrain specifics

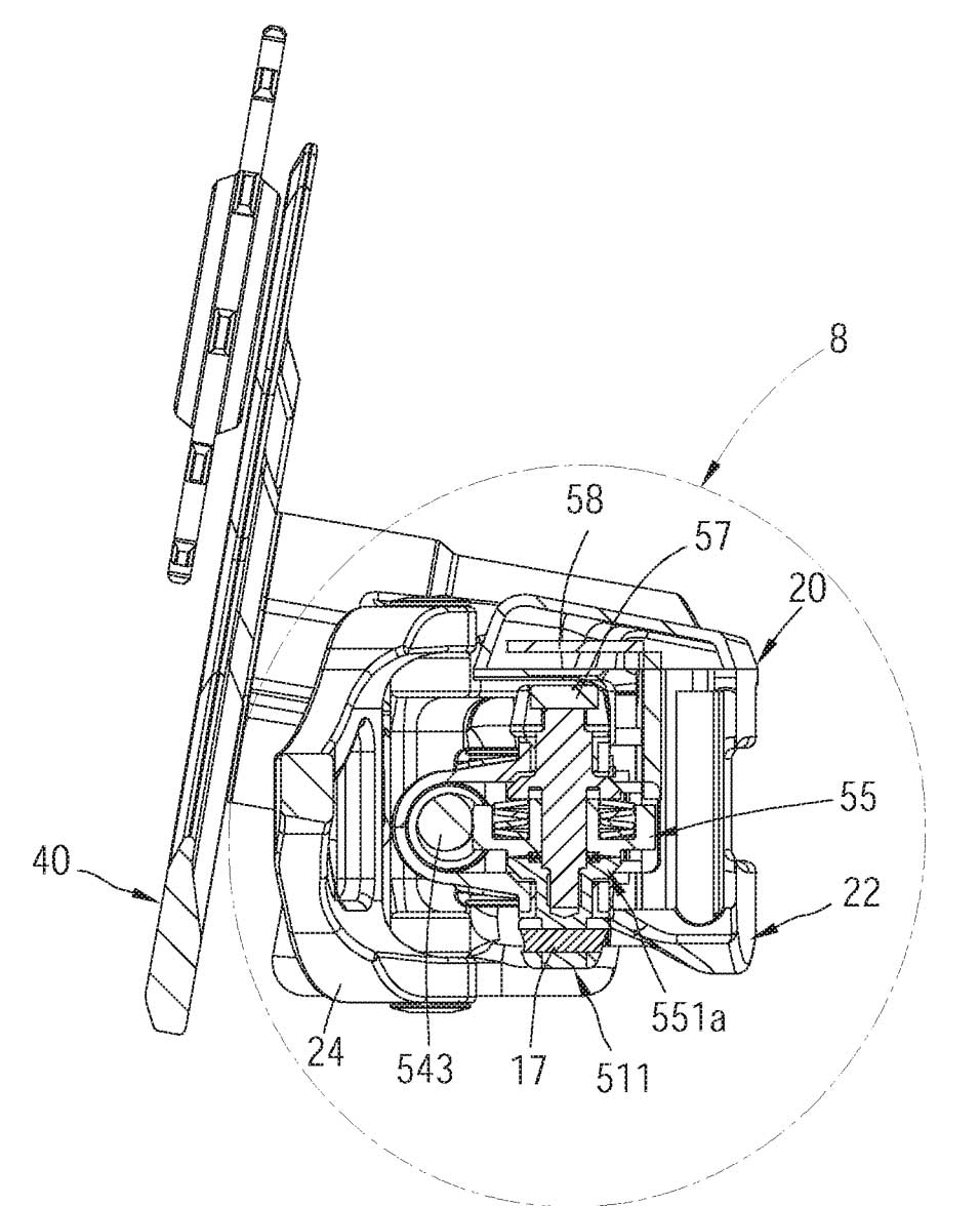
An FSA wireless drivetrain would have to — duh — eliminate all wires to truly be called a wireless system. In its current form, the WE drivetrain still uses wires to connect the front and rear derailleur to a battery that lives in the frame. The shifters run on coin cell batteries and send wireless signals to the derailleurs, however. Hence the semi-wireless designation.
This patent suggests FSA is going fully wireless with a battery that lives on the rear derailleur. SRAM eTap batteries mount to a SRAM derailleur, but SRAM batteries are removable. It doesn’t appear the FSA batteries are similarly removable. This does, however, eliminate the need for a cable to run to a battery mounted within the frame.
Further, the patent explains that the battery and derailleur are integrated with a wireless charging system. In addition to a battery, the rear derailleur includes a “coil for inductive charging.”
How wireless charging works

It’s a similar system to wireless phone chargers. This site has a good explainer on how such charging systems work. The short version: A tightly-wound coil lives on the derailleur and produces a magnetic field, which can in turn produce current for charging.
That means you would never have to leave your garage wondering when the last time you charged your drivetrain was. Nor would you find yourself caught out on a ride with dead derailleurs — at least in theory. It’s not immediately clear from the patent whether the battery would automatically charge, or if the user would have to perform some sort of initiative action to start the charging.
An FSA wireless drivetrain with wireless charging would be novel indeed. And it could give FSA a much-needed edge against strong competition. No other wireless drivetrain currently on the market can charge wirelessly.
Shimano and Campagnolo systems require users to plug the system into a wall outlet. SRAM batteries are easy to pop off the bike and place into dedicated chargers, and though this is certainly convenient, it still is not fully wireless.
Other neat FSA Wireless Drivetrain features

Wireless isn’t the only trick up FSA’s sleeve. It’s clear the company has seen what features riders have enjoyed as other brands develop their wireless systems. For example, the FSA wireless drivetrain outlined in this patent features a rear derailleur with a clutch assembly that can disengage when it’s hit by an external force. In other words, if you crash or bash your derailleur into a rock, the derailleur can disengage to prevent damage to its components.
And like SRAM’s eTap AXS derailleurs, the FSA derailleur outlined here appears to have a damper system incorporated as well. That helps reduce the derailleur cage movement over chatter and bigger hits. That in turn reduces the likelihood that you’ll drop your chain.
The drive assembly is hidden within the main linkage. This, according to FSA’s patent, helps reduce the overall size of the rear derailleur. That means less complexity, and perhaps less weight.

What else is in store for FSA wireless drivetrains?
As always, it’s important to note that a patent does not a product make. Often companies file patents simply to protect an idea that may never reach market. So we don’t know for sure if FSA intends to go wireless at all.
But if this patent becomes reality, it will need to integrate with a wireless drivetrain system that competes with the big boys. As such, FSA will need to address things like hood ergonomics, wide gear ranges (the original FSA WE system is 11-speed. Other brands have gone to 12 and even 13 speeds), and reliably long battery life.
That’s one point of concern for any on-derailleur battery: frame-mounted, wired options generally offer longer battery life. It’s entirely possible FSA has solved the battery problem, however, particularly if the wireless charging system initiates itself whenever it’s needed.
An electronic drivetrain you never have to think about charging? Let’s cross our fingers FSA really intends to pull this off.
Patent research assistance provided by Wheelbased.com. Check them out for deeper dives on some of these patents and more.
